Kia Rio: CVVT (Continuously Variable Valve Timing) System: Description| - |
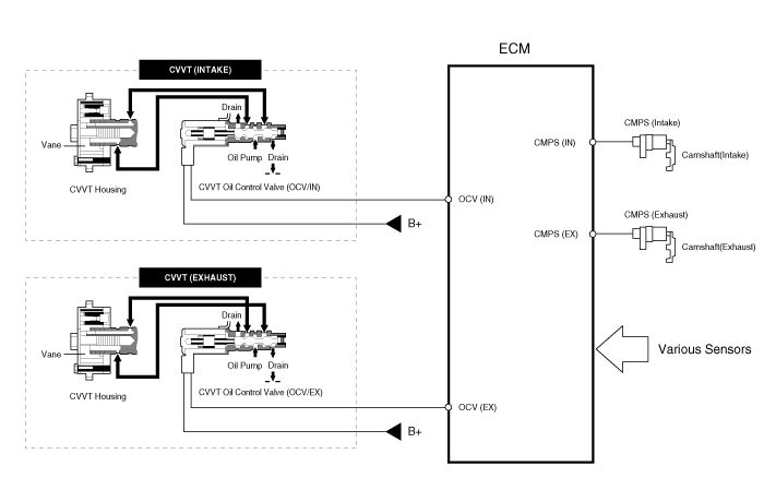
the CVVT Oil Control Valve (OCV) which regulates engine oil to
and from the cam phaser in accordance with the ECM PWM (Pulse With Modulation)
control signal,
|
| - |
and the Cam Phaser which varies the cam phase by using the hydraulic
force of the engine oil.
|

Catalytic Converter
CVVT (Continuously Variable Valve Timing) System: Operation PrincipleFront Stabilizer Link Replacement
1.
Remove the rear wheel & tire
Tightening torque :
88.3 ~ 107.9N.m(9.0 ~ 11.0kgf.m, 65.1 ~ 79.6lb-ft)
...
TPMS Receiver Operation
1.
General Function
A.
Auto-learn takes place only once per Ignition cycle.
B.
On successful compl ...
Ambient Temperature Sensor Description
The ambient temperature sensor is located at the front of the condenser
and detects ambient air temperature. It is a negative type thermistor; resistance
will increase with lower temperature, ...