Kia Rio: Front Strut Assembly Inspection - Front Suspension System - Suspension System - Kia Rio UB 2012-2026 Service ManualKia Rio: Front Strut Assembly Inspection

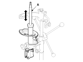
1.
Check the components for damage or deformation.
2.
Compress and extend the piston rod (A) and check that there is no abnormal resistance or unusual sound during operation.


Front Strut Assembly Disassembly and Reassembly
1. Compress the coil spring with a strut spring compressor. Do not compress the spring more than necessary. 2. Loosen the lock nut. ...

Front Lower Arm Replacement
1. Remove the front wheel & tire. Tightening torque : 88.3 ~ 107.9N.m(9.0 ~ 11.0kgf.m, 65.1 ~ 79.6lb-ft) ...

See also:

SRS Care
The SRS is virtually maintenancefree and there are no parts you can safely service by yourself. If the SRS air bag warning light does not illuminate, or continuously remains on, have your vehicle ...

Cluster Ionizer (FATC only) Description
The cluster ionizer helps to clean up odors in the vehicle or from the air-conditioner system. When the ignition switch ON, the inoizer runs a "CLEAN" mode and then a "ION& ...

General Troubleshooting Information
Before Troubleshooting 1. Check applicable fuses in the appropriate fuse/relay box. 2. Check the battery for damage, state of charge, and cl ...

Copyright www.kirmanual.com 2014-2026