Kia Rio: Rear Seat Belt Replacement - Seat Belt - Body (Interior and Exterior) - Kia Rio UB 2012-2026 Service ManualKia Rio: Rear Seat Belt Replacement

Rear Seat Belt Replacement
[5 Door]

     
When installing the belt, make sure not to damaged the retractor.
1.
Remove the following items first :
A.
Rear seat assembly
(Refer to the BD group - "Rear Seat")
B.
Rear door scuff trim
(Refer to the BD group - "Interior Trim")
2.
Using a screwdriver or remover, remove the rear transverse trim (A).


3.
After loosening the mounting bolt, then remove the rear seat belt lower anchor (A).

Tightening torque :
39.2 ~ 53.9 N.m (4.0 ~ 5.5 kgf.m, 28.8 ~ 39.8 lb-ft)


4.
After loosening the mounting blots, then remove the rear seat bracket (A).


5.
Using a screwdriver or remover, remove the lamp (A).
6.
Disconnect the lamp connector (B).


7.
After loosening the mounting screws, then remove the luggage side trim (A).


8.
Remove the rear seat belt upper anchor cover (B).
9.
Using a screwdriver or remover, remove the rear pillar trim (A).


10.
After loosening the mounting bolt, then remove the rear seat belt (A) and rear seat belt retractor (B).

Tightening torque :
39.2 ~ 53.9 N.m (4.0 ~ 5.5 kgf.m, 28.8 ~ 39.8 lb-ft)


11.
Installation is the reverse of removal.

     
Replace any damaged clips.
Make sure the connectors are plugged in properly.
[4 Door]

     
When installing the belt, make sure not to damaged the retractor.
1.
Remove the rear seat assembly.
(Refer to the BD group – “Rear Seat”)
2.
Using a screwdriver or remover, remove the rear pillar trim (A).


3.
After loosening the mounting screws, then remove the rear door scuff trim (A).


4.
After loosening the mounting bolt, then remove the rear seat belt lower anchor (A).

Tightening torque :
39.2 ~ 53.9 N.m (4.0 ~ 5.5 kgf.m, 28.8 ~ 39.8 lb-ft)


5.
After loosening the mounting blots, then remove the rear seat folding bracket (A).


6.
After loosening the mounting clips and screws, then remove the luggage partition trim (A).


7.
After loosening the mounting clips and screw, then remove the rear wheel housing trim (A).


8.
Disconnect the high mounted stop lamp connector (A).


9.
Remove the rear seat belt upper anchor cover (A).


10.
Remove the rear package tray trim (A).


11.
After loosening the retractor (B) mounting bolts, then remove the rear seat belt (A).
[LH, RH]

Tightening torque :
39.2 ~ 53.9 N.m (4.0 ~ 5.5 kgf.m, 28.9 ~ 39.8 lb-ft)


[Center]

Tightening torque :
39.2 ~ 53.9 N.m (4.0 ~ 5.5 kgf.m, 28.9 ~ 39.8 lb-ft)


12.
Installation is the reverse of removal.

     
Make sure the connectors are connected in properly.
Replace any damage clips.
Center Rear Seat Belt
[5 Door]
1.
Remove the following items first :
A.
Rear seat back assembly [LH]
(Refer to the BD group - "Rear Seat")
B.
Rear seat back cover [LH]
(Refer to the BD group - "Interior Trim")
2.
After loosening the mounting nut, then remove the center rear seat belt retractor (A).

Tightening torque :
39.2 ~ 53.9 N.m (4.0 ~ 5.5 kgf.m, 28.8 ~ 39.8 lb-ft)


3.
Installation is the reverse of removal.

     
Replace any damaged clips.
Rear Seat Belt Buckle Replacement
1.
Remove the following items first :
A.
Rear seat cushion assembly
(Refer to the BD group - "Rear Seat")
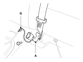
2.
Disconnect the rear seat buckle connector (B).
3.
After loosening the mounting bolt, then remove the rear seat belt buckle (A).
[LH]

Tightening torque :
39.2 ~ 53.9 N.m (4.0 ~ 5.5 kgf.m, 28.9 ~ 39.8 lb-ft)

[A Type]


[B Tyep]


[C Tyep]


[RH]

Tightening torque :
39.2 ~ 53.9 N.m (4.0 ~ 5.5 kgf.m, 28.9 ~ 39.8 lb-ft)

[A Type]


[B Tyep]


[C Tyep]


4.
Installation is the reverse of removal.
Front Seat Belt Replacement
Front Seat Belt Replacement    • When installing the belt, make sure not to damaged the ...

Body Electrical System
...

See also:

Anchor Pretensioner (APT) Installation
1. Remove ignition key from the vehicle. 2. Disconnect the negative (-) cable from battery and wait for at least thirty seconds. ...

Components
[AMS type (OAD)] 1. OAD (Overrunning Alternator Decoupler) 2. Front Bracket 3. Front Bearing 4. Stator 5. Rotor 6. Rear Bearing 7. Rear Bracket 8. ...

Description
Limitations Of The Navigation system GPS Signal Reception State As the GPS satellite frequency is received/transmitted in straight lines, reception may not work if something is placed on ...

Copyright www.kirmanual.com 2014-2026