Kia Rio: Room Lamp Removal - Lighting System - Body Electrical System - Kia Rio UB 2012-2026 Service ManualKia Rio: Room Lamp Removal

Room Lamp
1.
Disconnect the negative (-) battery terminal.
2.
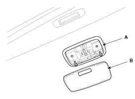
Remove room lamp lens (B).
3.
Remove the room lamp assembly (A) after loosening th mounting screws.


4.
Disconnect the connector (A).


5.
If it is necessay, replace the room lamp bulb (A).


Vanity Lamp
1.
Disconnect the negative (-) battery terminal.
2.
Remove the vanity lamp assembly (A) after disconnecting the connector (B).


Luggage Lamp
1.
Disconnect the negative (-) battery terminal.
2.
Remove the luggage lamp assembly (A) after disconnecting the connector (B).
[4 Door]


[5 Door]


Room Lamp Inspection
Room Lamp Remove the room lamp assembly then check for continuity between terminal. If the continuity is not as specified, replace the room lamp assemlby. ...

Room Lamp Installation
Room Lamp 1. Install the room lamp assembly after connecting the room lamp connector. 2. Install the room lamp lens. ...

See also:

Auto Defogging Sensor (FATC only) Replacement
1. Remove the auto defogging sensor cover (A). 2. Disconnect the connector (B) and then remove the auto defogging sensor (C). ...

Components Location
1. Purge control solenoid valve (PCSV) 2. Vapor line 3. ORVR valve 4. Fuel tank air filter 5. Canister close valve (CCV) 6. Canister 7. Fuel tank pressure sensor ( ...

Troubleshooting
Problem Symptoms Table Use the table below to help you find the cause of theproblem. The numbers indicate the priority of the likecause of the problem. Check each part in order. ...

Copyright www.kirmanual.com 2014-2026