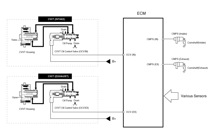
Kia Rio: Description| - |
the CVVT Oil Control Valve (OCV) which supplies the engine oil
to the cam phaser or runs out the engine oil from the cam phaser in
accordance with the ECM PWM (Pulse With Modulation) control signal,
|
| - |
the CVVT Oil Temperature Sensor (OTS) which measures the engine
oil temperature,
|
| - |
and the Cam Phaser which varies the cam phase by using the hydraulic
force of the engine oil.
|

Components
Operation Principle35R Clutch Control Solenoid Valve(35R/C_VFS) Removal
Replacing an on/off solenoid valve (SS-A, SS-B) does not require
additional hydraulic pressure adjustment; however, the ...
Components
[Front]
(5 Door, 4 Door)
1. Front seat belt
2. Height adjust
3. Front seat belt anchor pretensioner (NA : North america)
[Rear]
...
Parking brake
Checking the parking brake
Check the stroke of the parking brake by counting the number of “clicks’’ heard
while fully applying it from the released position. Also, the parking brake alone ...