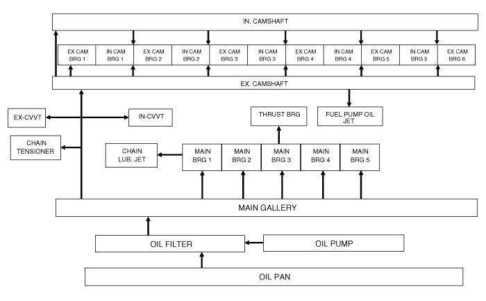
Kia Rio: Engine Oil Flow Diagram


Engine Oil: Inspection
Oil Pan: RemovalCompressor Components
1. Center Bolt
2. Hub Bolt
3. Hub Assembly
4. Snap Ring
5. Pulley
6. Compressor Assembly
7. Electric Control Valve (ECV)
...
Trunk Lid Adjustment
1.
After loosening the trunk lid hinge (A) mounting bolt, adjust
the trunk lid by moving it up or down, or right or left.
2.
Adjust the tru ...
Parking brake
Checking the parking brake
Check the stroke of the parking brake by counting the number of “clicks’’ heard
while fully applying it from the released position. Also, the parking brake alone ...