Kia Rio: Fuel Tank Air Filter - Evaporative Emission Control System - Emission Control System - Kia Rio UB 2012-2026 Service ManualKia Rio: Fuel Tank Air Filter

Removal

1.
Turn the ignition switch OFF and disconnect the battery negative (-) cable.
2.
Lift the vehicle.
3.
Disconnect the canister close valve connector (A).
4.
Disconnect the ventilation hose (B) from the fuel tank air filter and canister close valve.


5.
Remove the fuel tank air filter assembly after removing a bolt (A).


6.
Remove the bracket (A) after pulling it.


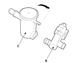
7.
Release the lever (A), and then separate the canister close valve (B) from the fuel tank air filter (C) after rotating it in the direction of the arrow in the figure.



Installation

1.
Install in the reverse order of removal.
Fuel Filler Cap
Description A ratchet tightening device on the threaded fuel filler cap reduces the chances of incorrect installation, which seals the fuel filler. After the gasket on the fuel filler cap an ...

Exhaust Emission Control System
...

See also:

Ignition Coil: Description
An ignition coil is an induction coil in an engine's ignition system which transforms the battery's low voltage to the high voltage needed to create an electric spark in the spark plu ...

ESC Operation Mode
ESC Hydraulic System Diagram 1. ESC Non-operation : Normal braking. Solenoid valve Continuity Valve Motor ...

Torque Converter Control Solenoid Valve (T/CON_VFS) Description
Torque converter control solenoid valve (T/CON_VFS) is attached to the valve body. This variable force solenoid valve directly controls the hydraulic pressure inside the torque converter. ...

Copyright www.kirmanual.com 2014-2026