Kia Rio: Heater & A/C Control Unit (FATC) Schematic Diagrams

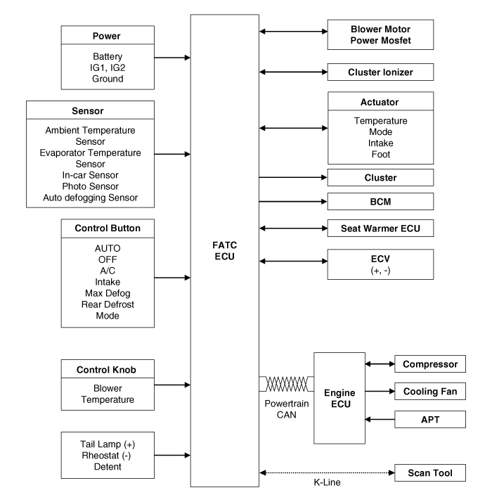
Heater & A/C Control Unit (FATC) Components
Heater & A/C Control Unit (FATC) Self DiagnosisComponents
1. Cylinder block
2. Ladder frame
3. Crankshaft
4. Crankshaft upper bearing
5. Crankshaft lower bearing
6. Thrust bearing
7. Main bearing cap
8. Adapter plate
...
Sirius radio
Using SIRIUS Satellite Radio
Your Kia vehicle is equipped with a 3 month complimentary period of SIRIUS Satellite
Radio so you have access to over 130 channels of music, information, and entertainm ...
5Door Actual-Measurement Dimensions
Front side member tooling hole (Ø6.6)
Front side member tooling hole (Ø6.6)
Side cover mounting hol ...