Kia Rio: Starter: Disassembly - Starting System - Engine Electrical System - Kia Rio UB 2012-2026 Service ManualKia Rio: Starter: Disassembly

1.
Disconnect the M-terminal (A) on the magnet switchassembly.


2.
After loosening the 2 screws (A), detach the magnetswitch assembly (B).


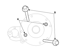
3.
Loosen the brush holder mounting screw (A) and the trough bolts (B).


4.
Remove the rear bracket (A) and brush holderassembly (B).


5.
Remove the yoke (A).


6.
Remove the packing (A), lever plate (B), lever (C), armature (D).


7.
Press the stopper (A) using a socket (B).


8.
After removing the stop ring (A) using stopper pliers (B).


9.
Remove the stop ring (B), stopper (A), overrunningclutch (C) and armature (D).



     
Using a suitable pulling tool (A), pull the overrunningclutch stopper (C) over the stop ring (B).


Starter: Installation
1. Install in the reverse order of removal. Starter installation bolt: 49.0 ~ 63.7 N.m (5.0 ~ 6.5 kgf.m, 36.2 ~ 47.0 lb-ft) ...

Starter: Reassembly
1. Reassemble in the reverse order of disassembly. ...

See also:

Operation and Leakage Check
Check all of the following items: Component Procedure Brake Booster (A) Check brake operation by applying the brakes during a test drive. If the brak ...

Tire Installation
1. Apply tire soap or lubrication to the top and bottom tire beads. 2. To fit the bottom bead, position the valve at the 5 o’clock pos ...

35R Clutch Control Solenoid Valve(35R/C_VFS) Specifications
Direct control VFS[35R/C] ▷ Control type : Normal low type Control Pressure kpa (kgf/cm², psi) 500.14 ~ 9.81 (5.1 ~ 0.1,72.54 ~ 1.42) Current value(mA ...

Copyright www.kirmanual.com 2014-2026