Kia Rio: Disassembly - Electric Power Steering - Steering System - Kia Rio UB 2012-2025 Service ManualKia Rio: Disassembly

1.
Fix the steering gear box assembly (A) on the vice.


2.
Remove the bellows clip (A) in the direction of the arrow. (The left and right same work.)


3.
Give space to bellows bend (B) by using the ring pliers (A). (The left and right same work)



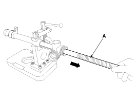
4.
After making the space to the bellows and tie-rod end contact part by using the (-) driver, remove the bellows (A) in the direction of the arrow.(The left and right same work)


5.
Remove the tie-rod & tie-rod end assembly (A).(The left and right same work)



6.
After fixing the yoke plug (A), remove the rock nut (B).



7.
Remove the yoke plug (A).


8.
Remove the yoke spring (A) and leaf spring (B).

     
Note that there may be urethane pads or back side of O-ring in place of leaf spring.
The number of leaf spring can be differs from depending on vehicle.


9.
Remove the support yoke assembly (A) from the inner lack hosing.

     
In case of support yoke assembly (A), the number and availability of O-ring can differ from depending on vehicle.


10.
Remove the dust packing & cap (A).


11.
Remove the top plug (A) by using the spanner.

     
When removing the top plug, top plug is made of aluminum, so be careful to avoid distortion.



12.
Remove the pinion assembly (A).


13.
Remove the rack bar (A) in the direction of the arrow.


Steering Gear box Replacement
1. Remove the front wheel & tire. Tightening torque : 88.3 ~ 107.9N.m(9.0 ~ 11.0kgf.m, 65.1 ~ 79.6lb-ft) ...

Steering Gear box Reassembly
1. After spreading grease on the rack bar gear part (A), install rack bar (B) in the direction of the arrow.    ...

See also:

Alternator: Removal and installation
1. Disconnect the battery negative terminal first, then the positive terminal. Tightening torque (+) terminal : 7 ...

Component Location
1. Auto light sensor 2. Head lamps 3. Lighting switch (Auto) 4. Tail lamps 5. BCM (Body Control Module) ...

Seat Heater Switch Installation
1. Install the seat heater switch. 2. Install the console assembly. 3. Connect the battery (-) terminal. ...

Copyright www.kirmanual.com 2014-2025