Kia Rio: Steering Gear box Reassembly - Electric Power Steering - Steering System - Kia Rio UB 2012-2025 Service ManualKia Rio: Steering Gear box Reassembly

1.
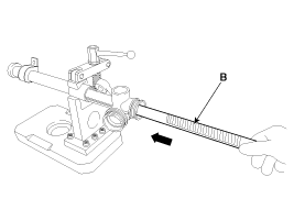
After spreading grease on the rack bar gear part (A), install rack bar (B) in the direction of the arrow.

     
When inserting the rack bar, be careful not to damage to inner rack housing.



2.
After spreading grease on the pinion gear part, install the pinion assembly (A).


3.
After spreading three bond (Loctite) on the top plug (A) thread, install the top plug by using the spanner.

     
When installing the top plug, top plug is made of aluminum, so be careful to avoid distortion.



4.
Install the dust packing & cap (A).


5.
Install the support yoke (A).

     
Before installing the support yoke assembly, make sure to whether the O-ring damage.


6.
Install the Yoke plug (A) and leaf spring (B).

     
The number of leaf spring can differ from depending on vehicle, pay attention to direction.
Direction of leaf spring



7.
After spreading three bond (Loctite) on the Yoke plug (A) thread, install the Yoke plug.


8.
Adjust Yoke with reference to the “How to adjust Yoke”.(Refer to "Steering gear box(Adjustment)" in ST group)
9.
After fixing the yoke plug, install the rock nut (A).


10.
Install the tie-rod & tie-rod end assembly (A). (The left and right same work)



11.
Caulk (A) the rack bar and tie-rod assembly joints. (The left and right same work)

     
When you doing caulking, use the air tool or chisel.



12.
After spreading sealant on the rack hosing and the bellow joints (A), install the bellows (B) in the direction of the arrow.


Disassembly
1. Fix the steering gear box assembly (A) on the vice. 2. Remove the bellows clip (A) in the direction of the arrow. (The left and ...

Restraint
...

See also:

Specification
Pressure [kPa (kgf/cm², psi)] Output Voltage (V) 20.0 (0.20, 2.9) 0.79 46.7 (0.47, 6.77) 1.84 101.3 (1.03, 14.7) 4 ...

Component Location
1. Start Stop Button(SSB) 2. FOB key 3. Smart key unit 4. Interior antenna 1 5. Interior antenna 2 6. Trunk antenna 7. Door handle & door antenna 8. Bumper ante ...

Inspection
Front Brake Disc Thickness Check 1. Check the brake pads for wear and fade. 2. Check the brake disc for damage and cracks. ...

Copyright www.kirmanual.com 2014-2025