Kia Rio: Rear Seat Components - Seat & Power Seat - Body (Interior and Exterior) - Kia Rio UB 2012-2025 Service ManualKia Rio: Rear Seat Components

[5 Door]


1. Headrest
2 . Headrest guide
3 . Webbing guide
4 . Rear latch knob
5 . Rear back knob bush
6 . Rear seat back silencer cloth
7 . Rear seat back pad
8 . Rear seat back cover
9 . Rear seat back latch cover
10 . Rear seat back frame assembly
11 . Rear seat back hinge assembly
12 . Rear seat cushion cover
13 . Rear seat cushion pad

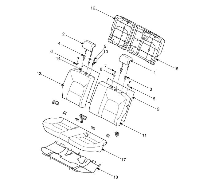
[4 Door]


1. Headrest [LH]
2. Headrest [RH]
3. Headrest guide [LH]
4. Headrest guide [RH]
5. Rear seat back webbing guide [LH]
6. Rear seat back webbing guide [RH]
7. Rear latch knob [LH]
8. Rear back knob bush [LH]
9. Rear latch knob [RH]
10. Rear back knob bush [RH]
11. Rear seat back cover [LH]
12. Rear seat back silencer cloth [LH]
13. Rear seat back cover [RH]
14. Rear seat back silencer cloth [RH]
15. Rear seat back frame assembly [LH]
16. Rear seat back frame assembly [RH]
17. Rear seat cushion cover
18. Rear seat cushion frame assembly

Front Seat Replacement
   • When removing or installing the front passenger seat, be sure to initialize the Weig ...

Rear Seat Replacement
Rear Seat Assembly Replacement 1. After loosening the mounting bolt, then remove the rear seat cushion (A). Tightening torque : ...

See also:

Specification
Item Specification Model Radio / MP3 / CD (PA30A) Radio / MP3 / VCD (BA900/ UVO) Power supply DC 14.4V Load Impedance 4 ...

4Door Front Body A
Hood hinge mounting hole (Ø11) Fender apron upper member tooling hole (Ø6.6) Front shock absorber hou ...

Smart key unit Removal
Smart key unit [USA] 1. Disconnect the negative(-) battery terminal. 2. Remove the smart key unit (A) after disconnecting the c ...

Copyright www.kirmanual.com 2014-2025