Kia Rio: Rear Seat Replacement - Seat & Power Seat - Body (Interior and Exterior) - Kia Rio UB 2012-2025 Service ManualKia Rio: Rear Seat Replacement

Rear Seat Assembly Replacement
1.
After loosening the mounting bolt, then remove the rear seat cushion (A).

Tightening torque :
19.6 ~ 29.4 N.m (2.0 ~ 3.0 kgf.m, 14.5 ~ 21.7 lb-ft)


2.
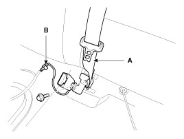
Disconnect the rear seat buckle connector (B).
3.
After loosening the mounting bolt, then remove the center rear seat belt lower anchor (A).

Tightening torque :
39.2 ~ 53.9 N.m (4.0 ~ 5.5 kgf.m, 28.9 ~ 39.8 lb-ft)


4.
After loosening the mounting bolts, then remove the rear seat back (A).

Tightening torque :
19.6 ~ 29.4 N.m (2.0 ~ 3.0 kgf.m, 14.5 ~ 21.7 lb-ft)


5.
Installation is the reverse of removal.
Rear Seat Back Cover Replacement [LH]
[5 Door]

     
When prying with a flat-tip screwdriver, wrap it with protective tape, and apply protective tape around the related parts your hands.
Put on gloves to protect your hands.
1.
Remove the following items first :
A.
Rear seat back assembly [LH]
2.
Push the lock pin (B), remove the headrest (A).


3.
Remove the rear latch knob (A) after turning in the counter clock-wise direction.
4.
Remove the rear back knob bush (B).


5.
Using a screwdriver or remover, remove the webbing guide (A).


6.
After loosening the mounting screw, then remove the rear seat back latch cover (A).


7.
Remove the rear seat back lower mounting protector (A).


8.
Zip off the rear seat back cover (A), and then full it up.


9.
Pull out the headrest guides (A) while pinching the end of the guides, and remove them.


10.
Remove the rear seat back cover (A) from the rear seat back frame (B).


11.
After removing the hog-ring clips (B) on the rear of seat back and remove the rear seat back cover (A).


12.
Installation is the reverse of removal.

     
To prevent wrinkles, make sure the material is stretched evenly over the cover (B) before securing the hog-ring clips (A).
Replace the hog ring clips with new ones using special tool [C (09880-4F000)].


[4 Door]

     
Put on gloves to protect your hands.
When prying with a flat-tip screwdriver, wrap it with protective tape, and apply protective tape around the related parts your hands.
1.
Remove the rear seat back assembly [LH].
2.
Push the lock pin (B), remove the headrest (A).


3.
After loosening the mounting screw, then remove the rear seat back webbing guide (A).


4.
Remove the rear latch knob (A) after turning in the counter clock-wise direction.


5.
Remove the rear seat back lower mounting protector (A).


6.
Zip off the rear seat back cover (A), and then full it up.


7.
Remove the hog-ring clips (A).


8.
Pull out the headrest guides (A) while pinching the end of the guides, and remove them.


9.
Remove the rear seat back cover (A) from the rear seat back frame (B).


10.
After removing the hog-ring clips (B) on the rear of seat back and remove the rear seat back cover (A).


11.
Installation is the reverse of removal.

     
To prevent wrinkles, make sure the material is stretched evenly over the cover (B) before securing the hog-ring clips (A).
Replace the hog ring clips with new ones using special tool [C (09880-4F000)].


Rear Seat Latch Replacement [LH]

     
When prying with a flat-tip screwdriver, wrap it with protective tape, and apply protective tape around the related parts your hands.
Put on gloves to protect your hands.
1.
Remove the following items first :
A.
Rear seat back assembly [LH]
B.
Rear seat back cover [LH]
2.
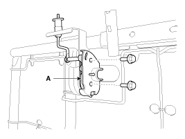
After loosening the mounting bolts, then remove the rear seat latch assembly (A).
[5 Door]

Tightening torque :
19.6 ~ 29.4 N.m (2.0 ~ 3.0 kgf.m, 14.5 ~ 21.7 lb-ft)


[4 Door]

Tightening torque :
19.6 ~ 29.4 N.m (2.0 ~ 3.0 kgf.m, 14.5 ~ 21.7 lb-ft)


3.
Installation is the reverse of removal.
Rear Seat Back Cover Replacement [RH]
[5 Door]

     
When prying with a flat-tip screwdriver, wrap it with protective tape, and apply protective tape around the related parts your hands.
Put on gloves to protect your hands.
1.
Remove the following items first :
A.
Rear seat back assembly [RH]
2.
Push the lock pin (B), remove the headrest (A).


3.
Remove the rear latch knob (A) after turning in the counter clock-wise direction.
4.
Remove the rear back knob bush (B).


5.
After loosening the mounting screw, then remove the rear seat back latch cover (A).


6.
Remove the rear seat back lower mounting protector (A).


7.
Zip off the rear seat back cover (A), and then full it up.


8.
Pull out the headrest guides (A) while pinching the end of the guides, and remove them.


9.
Remove the rear seat back cover (A) from the rear seat back frame (B).


10.
After removing the hog-ring clips (B) on the rear of seat back and remove the rear seat back cover (A).


11.
Installation is the reverse of removal.

     
To prevent wrinkles, make sure the material is stretched evenly over the cover (B) before securing the hog-ring clips (A).
Replace the hog ring clips with new ones using special tool [C (09880-4F000)].


[4 Door]

     
Put on gloves to protect your hands.
When prying with a flat-tip screwdriver, wrap it with protective tape, and apply protective tape around the related parts your hands.
1.
Remove the rear seat back assembly [RH].
2.
Push the lock pin (B), remove the headrest (A).


3.
After loosening the mounting screw, then remove the rear seat back webbing guide (A).


4.
Remove the rear latch knob (A) after turning in the counter clock-wise direction.


5.
Remove the rear seat back lower mounting protector (A).


6.
Zip off the rear seat back cover (A), and then full it up.


7.
Remove the hog-ring clips (A).


8.
Pull out the headrest guides (A) while pinching the end of the guides, and remove them.


9.
Remove the rear seat back cover (A) from the rear seat back frame (B).


10.
After removing the hog-ring clips (B) on the rear of seat back and remove the rear seat back cover (A).


11.
Installation is the reverse of removal.

     
To prevent wrinkles, make sure the material is stretched evenly over the cover (B) before securing the hog-ring clips (A).
Replace the hog ring clips with new ones using special tool [C (09880-4F000)].


Rear Seat Latch Replacement [RH]

     
When prying with a flat-tip screwdriver, wrap it with protective tape, and apply protective tape around the related parts your hands.
Put on gloves to protect your hands.
1.
Remove the following items first :
A.
Rear seat back assembly [RH]
B.
Rear seat back cover [RH]
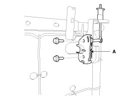
2.
After loosening the mounting bolts, then remove the rear seat latch assembly (A).
[5 Door]

Tightening torque :
19.6 ~ 29.4 N.m (2.0 ~ 3.0 kgf.m, 14.5 ~ 21.7 lb-ft)


[4 Door]


3.
Installation is the reverse of removal.
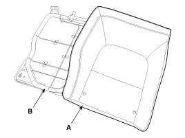
Rear Seat Cushion Cover Replacement

     
When prying with a flat-tip screwdriver, wrap it with protective tape, and apply protective tape around the related parts your hands.
Put on gloves to protect your hands.
1.
Remove the following items first :
A.
Rear seat cushion cover assembly
2.
Remove the hog-ring clips (A).


3.
After removing the hog-ring clips (B) on the rear of seat cushion and remove the rear seat cushion cover (A).


4.
Installation is the reverse of removal.

     
To prevent wrinkles, make sure the material is stretched evenly over the cover (B) before securing the hog-ring clips (A).
Replace the hog ring clips with new ones using special tool [C (09880-4F000)].


Rear Seat Components
[5 Door] 1. Headrest 2 . Headrest guide 3 . Webbing guide 4 . Rear latch knob 5 . Rear back knob bush 6 . Rear seat back silencer cloth 7 . Rear seat back pad ...

Seat Belt
...

See also:

Specifications
Front Suspension Item Specification Suspension type MacPherson Strut Shock absorber Type GAS Coil spring Free Heigh ...

Circuit Diagram
(M/T) (A/T) ...

Crash Pad Replacement
Cluster Replacement    • A plastic trim tool is recommended, but if prying with a sc ...

Copyright www.kirmanual.com 2014-2025