Kia Rio: Removal 

 - Canister Close Valve (CCV) - Engine Control System - Engine Control / Fuel System - Kia Rio UB 2012-2026 Service ManualKia Rio: Removal

1.
Turn the ignition switch OFF and disconnect the battery negative (-) cable.
2.
Lift the vehicle.
3.
Disconnect the canister close valve connector (A).
4.
Disconnect the ventilation hose (B) from the fuel tank air filter and canister close valve.


5.
Remove the fuel tank air filter assembly after removing a bolt (A).


6.
Remove the bracket (A) after pulling it.


7.
Release the lever (A) by lifting it up.


8.
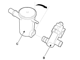
Remove the canister close valve (B) from the fuel tank air filter (C) after rotating it in the direction of the arrow in the figure.


Inspection
1. Turn the ignition switch OFF. 2. Disconnect the CCV connector. 3. Measure resistance between the CCV termina ...

Installation
   • Install the component with the specified torques. • ...

See also:

Parking brake
Checking the parking brake Check the stroke of the parking brake by counting the number of “clicks’’ heard while fully applying it from the released position. Also, the parking brake alone ...

Oil Pump Unit (OPU) Inspection
OPU Problem Inspection Procedure 1. TEST OPU GROUND CIRCUIT: Measure resistance between OPU and chassis ground using the backside of OPU harness connector ...

Start/Stop Button Removal
1. Disconnect the negative(-) battery terminal. 2. Remove the Audio. (Refer to the BE group - "Audio") 3. ...

Copyright www.kirmanual.com 2014-2026