Kia Rio: Roof Trim Replacement
Sunvisor Replacement
| •
|
Use a plastic panel removal tool to remove interior trip
pieces to without marring the surface.
|
| •
|
Put on gloves to protect your hands.
|
|
|
1. |
After loosening the mounting screws, then remove the sunvisor
(A) and retainer (B).

|
|
2. |
Installation is the reverse of removal.
|
Assist Handle Replacement
| •
|
Use a plastic panel removal tool to remove interior trip
pieces to without marring the surface.
|
| •
|
Put on gloves to protect your hands.
|
|
|
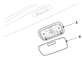
1. |
Remove the covers (B).
|
|
2. |
After loosening the mounting bolts, then remove the assist handle
(A).

|
|
3. |
Installation is the reverse of removal.
|
Overhead Console Replacement
| •
|
Use a plastic panel removal tool to remove interior trip
pieces to without marring the surface.
|
| •
|
Put on gloves to protect your hands.
|
|
|
1. |
Using a screwdriver or remover, remove the overhead console cover
(A).

|
|
2. |
After loosening the mounting screws, then remove the overhead
console assembly (A).

|
|
3. |
Disconnect the connectors (A).

|
|
4. |
Installation is the reverse of removal.
|
• |
Make sure the connector is connected properly.
|
|
|
Room Lamp Replacement
| •
|
Use a plastic panel removal tool to remove interior trip
pieces to without marring the surface.
|
| •
|
Put on gloves to protect your hands.
|
|
|
1. |
Using a screwdriver or remover, remove the room lamp cover (B).
|
|
2. |
After loosening the mounting screws, then remove the room lamp
(A).

|
|
3. |
Disconnect the connector (A).

|
|
4. |
Installation is the reverse of removal.
|
• |
Make sure the connectors are connected in properly.
|
|
• |
Replace any damage clips.
|
|
|
Vanity Lamp Replacement
| •
|
Use a plastic panel removal tool to remove interior trip
pieces to without marring the surface.
|
| •
|
Put on gloves to protect your hands.
|
|
|
1. |
Using a screwdriver or remover, remove the vanity lamp (A).
|
|
2. |
Disconnect the connector (B).

|
|
3. |
Installation is the reverse of removal.
|
• |
Make sure the connectors are connected in properly.
|
|
• |
Replace any damage clips.
|
|
|
Roof Trim Replacement
| •
|
When prying with a flat-tip screwdriver, wrap it with
protective tape, and apply protective tape around the related
parts, to prevent damage.
|
| •
|
Put on gloves to protect your hands.
|
|
|
1. |
Remove the following items :
| A. |
Front seat
(Refer to the BD group - "Front Seat")
|
| B. |
Rear seat
(Refer to the BD group - "Rear Seat")
|
| H. |
Front pillar trim
(Refer to the BD group - " Interior Trim")
|
| I. |
Front door scuff trim & Rear door scuff trim
(Refer to the BD group - " Interior Trim")
|
| J. |
Center pillar lower trim & Center pillar upper trim
(Refer to the BD group - " Interior Trim")
|
| K. |
Luggage side trim [5 Door]
(Refer to the BD group - " Interior Trim")
|
| L. |
Rear pillar trim
(Refer to the BD group - " Interior Trim")
|
|
|
2. |
Disconnect the roof trim main connector (A).

|
|
3. |
Disconnect the sunroof motor connector (A).

|
|
4. |
Remove the clips and roof trim (A).

|
|
5. |
Installation is the reverse of removal.
|
• |
Make sure the connectors are plugged in properly.
|
|
• |
Replace any damage clips.
|
|
|
Components
[General Type]
1 . Roof trim
2 . Sunvisor
3 . Retainer
4 . Assist handle bracket assembly
[Sunroof Type]
1 . Roof t ...
[5 Door, 4 Door]
1 . Front pillar trim
2 . Center pillar upper trim
3 . Center pillar lower trim
4 . Rear pillar trim [5 Door]
5 . Front door scuff trim
6 . ...
See also:
Rear Shock Absorber Components
•
Must completely be tigtened at the curb position of vehicle
when assemble shock ...
Water pump: Removal and Installation
Water Pump
1.
Drain engine coolant.
System is under high pre ...
Engine start/stop button
Illuminated Engine start/stop button
Whenever the front door is opened, the ENGINE START/STOP button will illuminate
for your convenience.
The light will go off after about 30 seconds when the d ...