Kia Rio: Body Side Moulding Replacement
Roof Garnish Replacement
| •
|
When prying with a flat-tip screwdriver, wrap it with
protective tape, and apply protective tape around the related
parts, to prevent damage.
|
| •
|
Put on gloves to protect your hands.
|
| •
|
Take care not to scratch the body surface.
|
|
|
1. |
Using a screwdriver or remover, remove the roof garnish (A).

|
|
2. |
Installation is the reverse of removal.
|
• |
Replace any damaged clips.
|
|
|
Delta Glass Replacement
| •
|
When prying with a flat-tip screwdriver, wrap it with
protective tape, and apply protective tape around the related
parts, to prevent damage.
|
| •
|
Put on gloves to protect your hands.
|
| •
|
Take care not to scratch the body surface.
|
|
|
1. |
Remove the following items :
| A. |
Front pillar trim
(Refer to the BD group - "Interior Trim")
|
|
|
2. |
After loosening the mounting nuts, then remove the delta glass
(A).
Tightening torque :
3.9 ~ 4.4 N.m (0.4 ~ 0.45 kgf.m, 2.9 ~ 3.3 lb-ft)
|

|
|
3. |
Installation is the reverse of removal.
|
• |
Replace any damaged clips.
|
|
|
Front Wheel Guard Replacement
| •
|
When prying with a flat-tip screwdriver, wrap it with
protective tape, and apply protective tape around the related
parts, to prevent damage.
|
| •
|
Put on gloves to protect your hands.
|
| •
|
Take care not to scratch the body surface.
|
|
|
1. |
Remove the front tire.
|
|
2. |
After loosening the mounting screws and clips, then remove the
front wheel guard (A).

|
|
3. |
Installation is the reverse of removal.
|
• |
Replace any damaged clips.
|
|
|
Rear Wheel Guard Replacement
| •
|
When prying with a flat-tip screwdriver, wrap it with
protective tape, and apply protective tape around the related
parts, to prevent damage.
|
| •
|
Put on gloves to protect your hands.
|
| •
|
Take care not to scratch the body surface.
|
|
|
2. |
After loosening the mounting clips and screws, then remove the
rear wheel guard (A).
[A Type]

[B Type]

|
|
3. |
Installation is the reverse of removal.
|
• |
Replace any damaged clips.
|
|
|
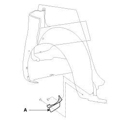
Front Mud Guard Replacement
| •
|
When prying with a flat-tip screwdriver, wrap it with
protective tape, and apply protective tape around the related
parts, to prevent damage.
|
| •
|
Put on gloves to protect your hands.
|
| •
|
Take care not to scratch the body surface.
|
|
|
1. |
After loosening the mounting clip and screws, then remove the
front mud guard (A).

|
|
2. |
Installation is the reverse of removal.
|
• |
Replace any damaged clips.
|
|
|
Rear Mud Guard Replacement
| •
|
When prying with a flat-tip screwdriver, wrap it with
protective tape, and apply protective tape around the related
parts, to prevent damage.
|
| •
|
Put on gloves to protect your hands.
|
| •
|
Take care not to scratch the body surface.
|
|
|
1. |
After loosening the mounting clip and screws, then remove the
rear mud guard (A).

|
|
2. |
Installation is the reverse of removal.
|
• |
Replace any damaged clips.
|
|
|
Rear Wheel Deflector Replacement
| •
|
When prying with a flat-tip screwdriver, wrap it with
protective tape, and apply protective tape around the related
parts, to prevent damage.
|
| •
|
Put on gloves to protect your hands.
|
| •
|
Take care not to scratch the body surface.
|
|
|
1. |
After loosening the mounting clips, then remove the rear wheel
deflector (A).

|
|
2. |
Installation is the reverse of removal.
|
• |
Replace any damaged clips.
|
|
|
Glass Adjustment
•
Check the glass run channel for damage or deterioration,
and re ...
1 . Glass panel assembly
2 . Glass panel
3 . Reinforcement glass
4 . Encapsulated glass panel
5 . Wind deflector net assembly
6 . Wind deflector beam
7 . Plate cover [RH] ...
See also:
Inhibitor Switch Specifications
▷ Type: Combination of output signals from 4 terminals
Power supply (V)
12
Output type
Combination of output signals
Signal Code Table
...
Description
Vehicles have many control units that use more electricity. These units
control their own system based on information from diverse sensors. It is important
to have a stable power supply as th ...
Underdrive Brake Control Solenoid Valve(UD/B_VFS) Description
Underdrive brake control solenoid valve(UD/B_VFS) is attached to the valve
body. This variable force solenoid valve directly controls the hydraulic pressure
inside the underdrive brake.
...