Kia Rio: Circuit Diagram - Tire Pressure Monitoring System - Suspension System - Kia Rio UB 2012-2026 Service ManualKia Rio: Circuit Diagram


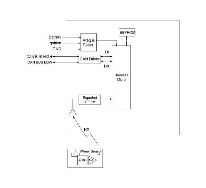
Hamess Connector


Pin No.
Discription
Remark
1
-

2
-

3
-

4
Vehicle Ground

5
CAN_HIGH

6
Battery

7
-

8
-

9
-

10
-

11
CAN_LOW

12
Ignition


Components
1. Receiver 2. TPMS Sensor (S1) 3. TPMS Sensor (S4) 4. TPMS Sensor (S2) 5. TPMS Sensor (S3) 6. Tread Lamp ...

Description
TREAD Lamp - Tire Under Inflation / Leak Warning. 1. Turn on condition A. When tire pressure is below a ...

See also:

Specification
HO2S [Bank 1/Sensor 1] Item Specification Heater Resistance (Ω) 2.4 ~ 4.0 [20°C(68°F)] HO2S [Bank 1/Sensor 2] A/F Ratio (λ) ...

Catalytic Converter
Description The catalytic converter of the gasoline engine is a three way catalyst. It oxidizes carbon monoxide and hydrocarbons (HC), and separates oxygen from the oxides of nitrogen (NOx). ...

Inspection
Connecting Rod And Crankshaft 1. Check the connecting rod end play. Using feeler gauge, measure the end play while moving the connecting rod back and f ...

Copyright www.kirmanual.com 2014-2026